回转窑用无烟煤煤粉燃烧器
本产品新型的名称是回转窑用无烟煤煤粉燃烧器,涉及一种用无烟煤煤粉作为燃料的回转窑用燃烧器。它主要是解决目前的回转窑用的煤粉燃烧器只能燃烧烟煤,成本高的问题。本产品新型燃烧器的喷嘴头部从外到内依次设有轴流风、旋流风、煤风、中心风和点火五个通道,五个通道的出口均为斜面出口,中心风通道的出口处设有中心风端盖板,煤风通道的出口处设有煤粉内喷头,旋流风和轴流风通道的出口处分别设有锥形旋流器、旋流风外筒和轴流风外筒,轴流风外筒外侧的出口处设有拢焰罩;燃烧器本体上分别设有轴流风、旋流风和煤风出口截面调节装置,以及中心风端盖板调节装置;燃烧器本体上设有助燃风管。本实用新型可利用无烟煤、劣质煤,燃烧充分,节能降耗。
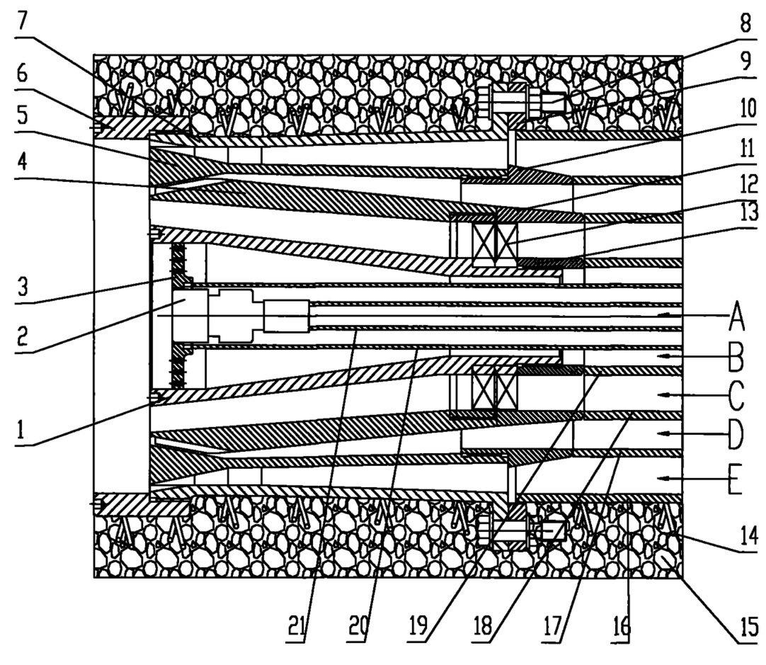
1.一种回转窑用无烟煤煤粉燃烧器,其特征是:①燃烧器的喷嘴头部从外到内依次设有轴流风、旋流风、煤风、中心风和点火五个通道A、B、C、D、E,五个通道的出口均为斜面出口,点火通道E置于中心风通道D内,中心风通道D的出口处设有中心风端盖板(3),煤风通道C的出口处设有煤粉内喷头(1),旋流风通道B和轴流风通道A的出口处分别没有锥形旋流器(4)、旋流风外简(5)和轴流风外简(7),轴流风外简(7)外侧的出口处没有拢焰罩(6) ;②在燃烧器本体上分别设有轴流风、旋流风和煤风出口截面调节装置(25、27 、31),以及中心风端盖板调节装置(33) ;③在燃烧器本体上设有助燃风管(39)。
2.根据权利要求1所述的回转窑用无烟煤煤粉燃烧器,其特征是所述的中心风通道D的出口处的中心风端盖板(3)上联接有雾化器导管(20) ;煤风通道C的煤粉内喷头(1)与煤风内管(19)采用坡口方式联接;旋流风通道B的锥形旋流器(4) 与煤风外管(18)采用坡口方式联接;轴流风通道A的旋流风外筒(5)与旋流风外管(17)采用坡口式联接,轴流风通道A的轴流风外筒(7)与外风管(16). 上的法兰(9)采用螺栓联接;轴流风外筒(7) 与拢焰罩(6)采用梯形螺纹联接,煤粉内喷头(1)、锥形旋流器(4)、旋流风外简(5)和轴流风外简(7) 的出口端均为斜面出口。
3.根据权利要求1或2所述的回转窑用无烟煤煤粉燃烧器,其特征是所述的燃烧器喷嘴头部的锥形旋流器(4)是一个在外锥体外表面上加工有螺旋沟槽的锥形旋流器,锥形旋流器(4)的头部圆锥直径沿气流方向逐渐缩小。
4.根据权利要求1或2所述的回转窑用无烟煤煤粉燃烧器,其特征是所述的轴流风和旋流风出口截面调节器(25、27)是一个带有四个法兰的波纹补偿器,两个法兰分别固定在波纹管两侧与波纹管密封联接,另两个法兰分别设在上述两个法兰的外侧,通过两个螺杆平行联接在四个法兰的径向端;轴流风截面出口调节器(25)是将补偿器外侧的两个法兰分别与外风管(16)和旋流风外管(17)联接;旋流风出口截面调节器(27)是将补偿器两端的法兰分别与旋流风外管(17)和煤风外管(18)联接。
5.根据权利要求1或2所述的回转窑用无烟煤煤粉燃烧器,其特征是所述的煤风出口截面调节装置(31)和中心风端盖板调节装置(33)是由两个法兰和两个螺杆组成,两个螺杆平行联接在两法兰的径向端;煤风出口截面调节装置(31)的两个法兰分别固定在煤风外管(18)端部和煤风内管(19)上;中心风端盖板调节装置(33)的两个法兰分别固定在煤风内管(19)的端面和雾化器导管(20) 的一-端。
6.根据权利要求1所述的回转窑用无烟煤煤粉燃烧器,其特征是所述的助燃风管(39)上联接有轴流风管(44)、旋流风管(41)和中心风管(38) ,轴流风管(44)、旋流风管(41)和中心风管(38)上分别装有蝶阀式的调节阀门(45、42、35) ;所述的助燃风管(39). 上装有轴流风管(44)和旋流风管(41) 的调节补偿装置(43、40) 。
7.根据权利要求1所述的回转窑用无烟煤煤粉燃烧器,其特征是所述的助燃风管(39)和煤风进口管道(30)之间装有煤风补偿风管(38)。
8.根据权利要求1所述的回转窑用无烟煤煤粉燃烧器,其特征是所述的煤风进口管道(30)斜插入煤风外管(18)内,并焊接在燃烧器上,在斜插口的煤风通道壁上设有耐磨陶瓷片保护层。
