大调节能力的五通道气体燃烧器
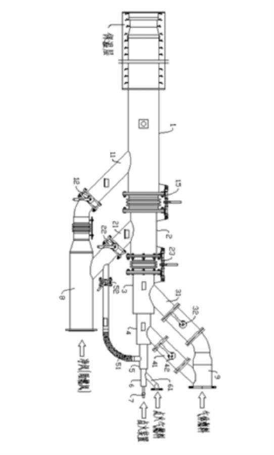
本公司燃烧设备属于燃烧设备领域,具体涉及一种大调节能力的五通道气体燃烧器,包括轴流风管、旋流风管、外层气管、内层气管、中心风管、引火燃气管和点火棒由大到小依次套装而成并依次形成轴流风通道、旋流风通道、外层气通道、内层气通道、中心风通道和引火燃气通道;轴流风管的侧壁伸出轴流风支管,旋流风管的侧壁伸出旋流风支管,外层气管的侧壁伸出外层气支管,内层气管的侧壁伸出内层气支管,中心风管的侧壁伸出中心风支管,引火燃气管的侧壁延伸出燃料支管;燃烧设备在低负荷情境中,有较好的火焰刚度、形状、长度、均匀的火焰温度及较灵活调节性,温度分布更适合使用的大气量气体燃料的回转窑,且操作简便,灵活好用。
关键词:多通道燃烧器、煤粉燃烧器、多风道燃烧器、喷煤管、回转窑煤粉燃烧器、煤粉烧嘴
