自动上卷和对中的开卷机成套设备
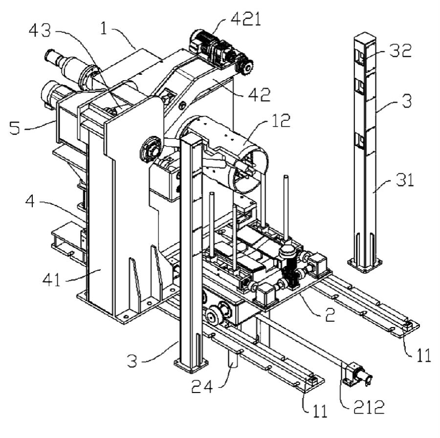
本公司设备属于开卷机领域,具体涉及一种自动上卷和对中的开卷机成套设备,包括开卷机、小车、对中对高装置以及压辊装置;开卷机的底面设有两条平行的滑轨,开卷机的上端设有卷筒;小车包括驱动装置、底座和对中夹紧装置;驱动装置驱动底座在滑轨上来回滑动,底座设有升降液压缸,升降液压缸的输出端连接对中夹紧装置;对中对高装置包括两根立柱,立柱上设有传感器;压辊装置包括压辊支架、压臂和压辊液压缸;压辊支架立于卷筒一侧,压辊支架铰接压臂的一端,压臂的另一端设有由驱动辊轮;压辊液压缸一端连接压辊支架,压辊液压缸的另一端连接压臂。本设备能实现卷材的自动化上卷和对中,节省人力,智能化程度好,且对中精准。

关键词:多通道燃烧器、开卷机成套设备、喷煤管、回转窑煤粉燃烧器、煤粉烧嘴