适应多规格的法兰与钢管定位焊接装置
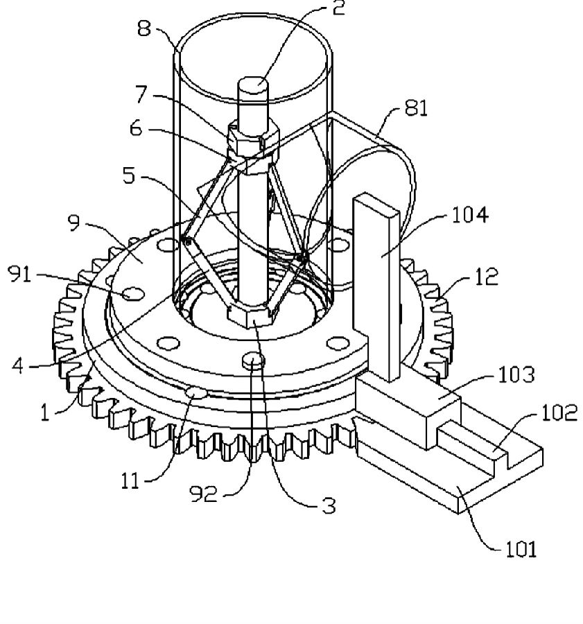
本公司设备属于焊接支架领域,具体涉及一种适应多规格的法兰与钢管定位焊接装置,包括定位法兰板、定位轴、第一套筒、第一连杆、第二连杆和第二套筒;定位法兰板设有若干定位孔;定位轴垂直焊接在定位法兰板上,定位轴的轴心线与定位法兰板的轴心线共线;第一套筒套设在定位轴的底端;第一连杆不少于三根,第一连杆的一端铰接在第一套筒上,第一连杆的另一端铰接第二连杆的一端,各个第一连杆绕定位轴均布;第二连杆的另一端均布铰接到第二套筒上;第二套筒套设在定位轴上并能在定位轴上下滑动。本设备提供的一种适应多规格的法兰与钢管定位焊接装置,能适用于多种规格的法兰与钢管定位焊接,甚至能适用于异型钢管,且操作简单,垂直度误差小。
