管道式油煤混烧燃烧系统
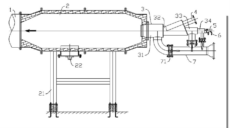
本公司燃烧设备属于煤粉立磨机的热风源供给领域,具体涉及一种管道式油煤混烧燃烧系统,包括磨机、煤粉仓和回转窑头,磨机连通煤粉仓,煤粉仓连通回转窑头,还包括引风管道、燃烧管道、燃烧器、煤粉管道、电子点火棒、雾化油枪和助燃风管道;引风管道的入口端连通燃烧管道的出口端,引风管道的出口端连通磨机;燃烧管道的入口端连通燃烧器的出口端;燃烧器的入口端连通煤粉管道、电子点火棒、雾化油枪和助燃风管道;煤粉管道的另一端连通煤粉仓。本公司燃烧设备提供的一种管道式油煤混烧燃烧系统,不但解决了此前回转窑生产系统在生产初期没有热风风源供给问题,还能有效利用煤粉,降低使用成本。
关键词:油煤混烧燃烧器、回转窑煤粉燃烧器、四风道燃烧煤粉燃烧器 、低氮燃烧器
