燃烧器用撬装式低压气体燃料输送控制系统
本公司设备实用于新型公开了一种燃烧器用撬装式低压气体燃料输送控制系统,包括钢管和法兰,两个所述的法兰通过螺钉与钢管的两端部固定连接;所述钢管顶部的左侧设置有第一压力表,且第一压力表通过管道与钢管连通,所述钢管的顶部且位于第一压力表的右侧连通有第一连接管,并且第一连接管的内部固定连接有快速切断阀,本公司设备实用于新型涉及热工设备技术领域。该燃烧器用撬装式低压气体燃料输送控制系统,只需要在本套控制系统外的管道上装有手动截止阀,如果需中控系统实时控制和监测,只需通过与本控制系统的控制箱交换数据,极大的降低了使用单位实施气体燃料管道的技术难度,简化使用单位对技术人员要求,保证了气体燃料安全可控。
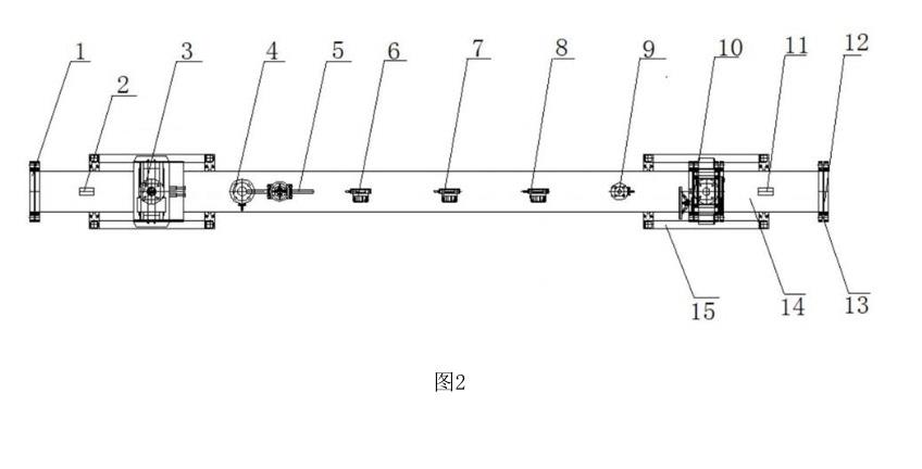
1.一种燃烧器用撬装式低压气体燃料输送控制系统,包括钢管(14)和法兰(13),两个所述的法兰(13)通过螺钉与钢管(14)的两端部固定连接;其特征在于:所述钢管(14)顶部的左侧设置有第一压力表(2),且第一压力表(2)通过管道与钢管(14)连通,所述钢管(14)的顶部且位于第一压力表(2)的右侧连通有第一连接管(16),并且第一连接管(16)的内部固定连接有快速切断阀(3),所述钢管(14)的顶部且位于快速切断阀(3)的右侧连通有第二连接管(17),并且第二连接管(17)的内部固定连接有第一手动阀(4),所述钢管(14)的顶部且位于第一手动阀(4)的右侧依次设置有第一变送器(6)、第二变送器(7)和第三变送器(8),且第一变送器(6)、第二变送器(7)和第三变送器(8)均通过管道与钢管(14)连通;所述钢管(14)顶部的右侧固定连接有第二压力表(11),所述钢管(14)的顶部且位于第二压力表(11)的左侧连通有第三连接管(18),并且第三连接管(18)的内部固定连接有调节流量阀(10),所述钢管(14)的顶部且位于调节流量阀(10)的左侧连通有第四连接管(19),并且第四连接管(19)的内部固定连接有第二手动阀(9)。
2.根据权利要求1所述的一种燃烧器用撬装式低压气体燃料输送控制系统,其特征在于:所述钢管(14)的左侧和右侧分别为燃气入口(1)和燃气出口(12)。
3.根据权利要求1所述的一种燃烧器用撬装式低压气体燃料输送控制系统,其特征在于:所述钢管(14)底部的两侧均设置有支架(15),且支架(15)通过连接件与钢管(14)底部固定连接。
4.根据权利要求1所述的一种燃烧器用撬装式低压气体燃料输送控制系统,其特征在于:所述第二连接管(17)的一侧连通有第五连接管(20),并且第五连接管(20)的内部固定连接有第三手动阀(5)。
关键词:多通道燃烧器、煤粉燃烧器、多风道燃烧器、喷煤管、回转窑煤粉燃烧器、煤粉烧嘴

