回转窑用旋流式四通道气体燃烧器
本产品新型的名称是回转窑用旋流式四通道气体燃烧器,涉及可使气体燃料完全燃烧的旋转窑用四通道气体燃烧器。它主要是解决目前旋转窑用的双通道和三通道气体燃烧器不能充分将气体燃烧与助燃空气混合燃烧,燃烧速度慢,火焰发散无力,形状不规则的问题。本产品新型是:燃烧器喷嘴头部从外到内依次设有轴流风通道A、旋流风通道B、煤气通道C、中心风通道D及点火通道E,在燃烧器本体上设有喷嘴头部的轴流风出口截面积调节装置;旋流风出口截面积调节装置,与轴流风、旋流风和中心风管道相联接的净风管上分别装有调整风量的调节阀门。本实用新型燃烧充分,火焰稳定,火焰温度分布均匀合理,各出口风道截面积可在线调节,即火焰速度、形状和强弱可调。
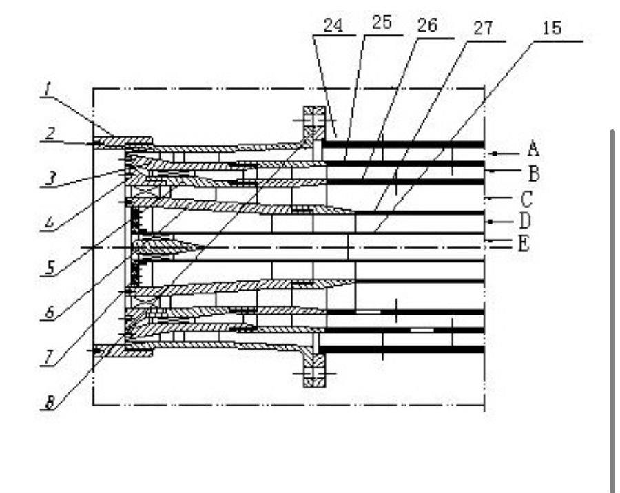
1.一种回转窑用旋流式四通道气体燃烧器,其特征是:燃烧器喷嘴头部从外到内依次设有轴流风通道A、旋转风通道B、煤气通道C、中心风通道D、以及点火通道E、在燃烧器本体上设有喷嘴头部的轴流风出口截面积调节装置(11),旋转风出口截面积调节装置(12),与轴流风、旋流风和中心风管道相联接的净风管上分别装有调整风量的调节阀门( 18、20、21)。
2.根据权利要求1所述的回转窑用旋流式四通道气体燃烧器,其特征是:所述的点火通道E设在喷咀的最内侧,点火通道E的外侧是中心风道D,中心风通道D由煤气内筒(6)与中心风管(27)采用螺纹联接管联接构成,在煤气内简(6)的出口端设有中心风端盖板(7)。
3.根据权利要求1所述的回转窑用旋流式四通道气体燃烧器,其特征是:所述的煤气通道C由旋流风内筒(5)与煤气外管(26)采用螺纹联接构成,旋流风内筒(5)的出口端上设有煤气内简旋流风挡板(4)。
4.根据权利要求1所述的回转窑用旋流式四通道气体燃烧器,其特征是:所述的旋流风通道B由旋流风外简(3)与旋流风外管(25)采用螺纹管过渡联接构成。
5.根据权利要求1所述的回转窑用旋流式四通道气体燃烧器,其特征是:所述的轴流风通道A由轴流风外筒(2)通过法兰(8)与轴流风外管(24)联接构成,轴流风外简(2)的出口端上采用螺纹联接拢焰罩(1)。

关键词:回转窑低氮燃烧器 多通道燃烧器 四通道燃烧器 煤粉燃烧器 分解炉用燃烧器