管道式油煤混烧燃烧系统
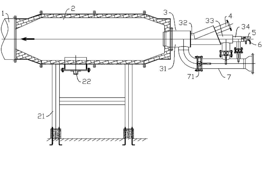
本公司设备实用新型属于煤粉立磨机的热风源供给领域,具体涉及一种管道式油煤混烧燃烧系统,包括磨机、煤粉仓和回转窑头,磨机连通煤粉仓,煤粉仓连通回转窑头,还包括引风管道、燃烧管道、燃烧器、煤粉管道、电子点火棒、雾化油枪和助燃风管道;引风管道的入口端连通燃烧管道的出口端,引风管道的出口端连通磨机;燃烧管道的入口端连通燃烧器的出口端;燃烧器的入口端连通煤粉管道、电子点火棒、雾化油枪和助燃风管道;煤粉管道的另一端连通煤粉仓。本公司设备实用新型提供的一种管道式油煤混烧燃烧系统,不但解决了此前回转窑生产系统在生产初期没有热风风源供给问题,还能有效利用煤粉,降低使用成本。
1.一种管道式油煤混烧燃烧系统,包括磨机、煤粉仓和回转窑头,磨机连通煤粉仓,煤粉仓连通回转窑头,其特征在于,还包括引风管道、燃烧管道、燃烧器、煤粉管道、电子点火棒、雾化油枪和助燃风管道;引风管道的入口端连通燃烧管道的出口端,引风管道的出口端连通磨机;燃烧管道的入口端连通燃烧器的出口端;燃烧器的入口端连通煤粉管道、电子点火棒、雾化油枪和助燃风管道;煤粉管道的另一端连通煤粉仓。
2.根据权利要求1所述一种管道式油煤混烧燃烧系统,其特征在于,燃烧器包括第一管道、第二管道、第三管道和第四管道;第一管道、第二管道、第三管道和第四管道由大到小依次套装并形成第一通道、第二通道和第三通道;第一通道、第三通道和第四管道均与助燃风管道连通;电子点火棒和雾化油枪插入第四管道内;第二通道与煤粉管道连通。
3.根据权利要求2所述一种管道式油煤混烧燃烧系统,其特征在于,助燃风管道与第一通道、第三通道、第四管道连通之间设有调节阀。
4.根据权利要求1所述一种管道式油煤混烧燃烧系统,其特征在于,还包括用于支撑燃烧管道的管道支架。
5.根据权利要求1所述一种管道式油煤混烧燃烧系统,其特征在于,燃烧管道的底部设有盖门。
